The Microchip IS1870/71 BLUETOOTH Low Energy SoCs provide simple integration and programming, reduced development time, superior Bluetooth Low Energy solution with a low-cost system, interoperability with Apple® iOS and Android™ OS, and a wide range of application support.
The IS1870/71 SoC is optimized to maintain a low power wireless connection, and the small form factor package size is designed for wearable applications.
Features
- Bluetooth smart 4.2 Bluetooth Low Energy compliant
- 256 Kbytes embedded Flash memory
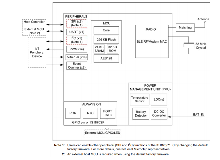
- UART/SPI/I2C interface supported
- Integrated crystal oscillator operates with 32MHz external crystal
- Temperature sensor supported
- 31 general purpose I/O (GPIO) pins for IS1870 SoC and 15 GPIO pins for IS1871 SoC
- Supports 4-channel pulse-width modulation (PWM) for IS1870 SoC and 1-channel PWM for IS1871 SoC
- Supports 12-bit ADC (ENOB=10 or 8 bits) for battery and voltage detection
- 16-channel ADC for IS1870 SoC and 6-channel ADC for IS1871 SoC are provided
- AES-CMAC hardware engine
- Beacon support
- Low power consumption
- Compact size:
- IS1871 in a 4mm x 4mm 32QFN package
- IS1870 in a 6mm x 6mm 48QFN package
Applications
- Internet of Things (IoT)
- Wearable, fitness or healthcare
- Weighing scale
- Proximity/Find Me services
- Secure payment
- Digital beacons
- Consumer appliances or home automation
- Industrial
IS1870 Block Diagram
IS1871 Block Diagram
Videos
Published: 2021-03-15
| Updated: 2024-10-30

