NXP Semiconductors UJA116xA Mini HS-CAN Transceivers
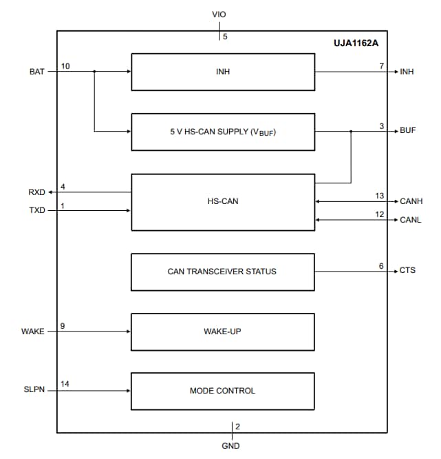
NXP Semiconductors UJA116xA Mini HS-CAN Transceivers offer a highly integrated solution with an HS-CAN interface housed in a small, leadless HVSON14 package. The UJA116xA variants provide options including a watchdog, an optional external 5V sensor supply, and partial networking support.The NXP UJA116xA Mini HS-CAN Transceivers contain an ISO11898-2:2016 and SAE J2284-1 to J2284-5 compliant HS-CAN transceiver. Additionally, the devices feature CAN FD active communication up to 5Mbit/s together with an integrated 5V low-dropout regulator supply (V1) for a microcontroller and other loads up to 100mA. The UJA116xA SBC can be operated in very low-current standby and sleep modes with bus and local wake-up capabilities.
Features
- ISO 11898-2:2016 and SAE J2284-1 to SAE J2284-5 compliant HS-CAN including CAN FD active communication up to 5Mbit/s
- Optional partial networking and CAN FD passive support
- Autonomous bus biasing according to ISO 11898-6
- Fully integrated 5V low-dropout regulator with 100mA output current capability
- Optional protected 5V sensor supply variant for off-board usage
- Standby and sleep mode with very low supply current
- Watchdog with window, timeout and autonomous modes and microcontroller-independent clock source
- Remote and local wake-up capability
- Mode control via the serial peripheral interface (SPI bus)
- Easy and secure customer programmable configuration of selected functions via non-volatile memory
- Support for microcontroller RAM retention down to a battery voltage of 2V
- Leadless HVSON14 package (3mm x 4.5mm) with improved automated optical inspection (AOI) capability and low thermal resistance
- Hardware and software compatible with UJA116x product family
- Qualified in accordance with the AEC-Q100 Rev-G standard
Applications
- Sun roof control modules
- Seat pretensioners
- Gear shift control
- Tire pressure monitoring
- Window and door control
- Steering control modules
- HVAC climate control
Variant Table
View Results ( 11 ) Page
| Part Number | Datasheet | Description |
|---|---|---|
| UJA1163ATK/0Z | ![]() |
CAN Interface IC Mini high-speed CAN system basis chip with Standby mode |
| UJA1164ATK/0Z | ![]() |
CAN Interface IC Mini high-speed CAN system basis chip with Standby mode & watchdog |
| UJA1167ATK/0Z | ![]() |
CAN Interface IC Mini high-speed CAN system basis chip with Standby/Sleep modes & watchdog |
| UJA1162ATK/0Z | ![]() |
CAN Interface IC Self-supplied high-speed CAN transceiver with Sleep mode |
| UJA1161ATK/0Z | ![]() |
CAN Interface IC Self-supplied high-speed CAN transceiver with Standby mode |
| UJA1168ATK/0Z | ![]() |
CAN Interface IC Mini high-speed CAN system basis chip for partial networking |
| UJA1166ATK/0Z | ![]() |
CAN Interface IC Self-supplied high-speed CAN transceiver with Sleep mode |
| UJA1167ATK/X/0Z | ![]() |
CAN Interface IC Mini high-speed CAN system basis chip with Standby/Sleep modes & watchdog |
| UJA1168ATK/F/0Z | ![]() |
CAN Interface IC Mini high-speed CAN system basis chip for partial networking |
| UJA1168ATK/X/0Z | ![]() |
CAN Interface IC Mini high-speed CAN system basis chip for partial networking |
Published: 2021-06-21
| Updated: 2022-03-11

